Home   Forum   Archief   Redactie   Contact   Bedrijven   Games    
 
  GamedPCVRNintendo SwitchNintendo Switch 2Playstation 4Playstation 5Xbox OneXboxAppMisc    
07 Januari 2026 
(0) 
(0) 
06 Januari 2026 
(1) 
(0) 
(0) 
(0) 
05 Januari 2026 
(0) 
(0) 
(0) 
02 Januari 2026 
(0) 
(1) 
01 Januari 2026 
(0) 
(0) 
(0) 
31 December 2025 
(1) 
30 December 2025 
(6) 
(0) 
29 December 2025 
(0) 
(0) 
(6) 
(0) 
(0) 
25 December 2025 
(1) 
24 December 2025 
(3) 
(2) 
(1) 
23 December 2025 
(0) 
(0) 
(0) 
(1) 
(0) 
22 December 2025 
(2) 
(0) 
(1) 
(0) 
20 December 2025 
(1) 
19 December 2025 
(6) 
(0) 
(0) 
17 December 2025 
(0) 
(0) 
(0) 
(0) 
(0) 
(0) 
(0) 
16 December 2025 
(2) 
(4) 
(0) 
(0) 
(0) 
(0) 
(0) 
(0) 
(0) 
(0) 
15 December 2025 
(2) 
(0) 
13 December 2025 
(0) 
(0) 
(0) 
(0) 
(0) 
12 December 2025 
(0) 
(0) 
(0) 
(0) 
(0) 
(0) 
(0) 
(1) 
(0) 
(0) 
(0) 
(0) 
(0) 
(0) 
(1) 
(0) 
(0) 
(0) 
(1) 
(0) 
(0) 
(2) 
(0) 
(0) 
(0) 
(0) 
(0) 
(0) 
(0) 
11 December 2025 
(0) 
(0) 
10 December 2025 
(0) 
(0) 
(0) 
(1) 
(0) 
(0) 
(1) 
(0) 
(0) 
(0) 
(1) 
09 December 2025 
(1) 
(0) 
(0) 
(0) 
(0) 
(0) 
08 December 2025 
(1) 
(3) 
(0) 
(0) 
(0) 
06 December 2025 
(0) 
(0) 
(0) 
(0) 
05 December 2025 
(0) 
(0) 
(0) 
(0) 
(1) 
(0) 
(0) 
(0) 
04 December 2025 
(3) 
(1) 
(0) 
(0) 
(1) 
(0) 
(0) 
(0) 
(0) 
(0) 
(0) 
(0) 
03 December 2025 
(0) 
(0) 
(0) 
02 December 2025 
(2) 
(0) 
Gamed Gamekalender Januari 2026
Romancing SaGa: Minstrel Song Remastered International
Call of Duty: Black Ops 7
Gamed Gamekalender December 2025
Nieuws:

Zit je vast in een game? Sony patent helpt je weer op weg


Door Rene Groen op 06-01-2026 om 17:14

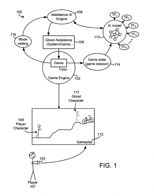
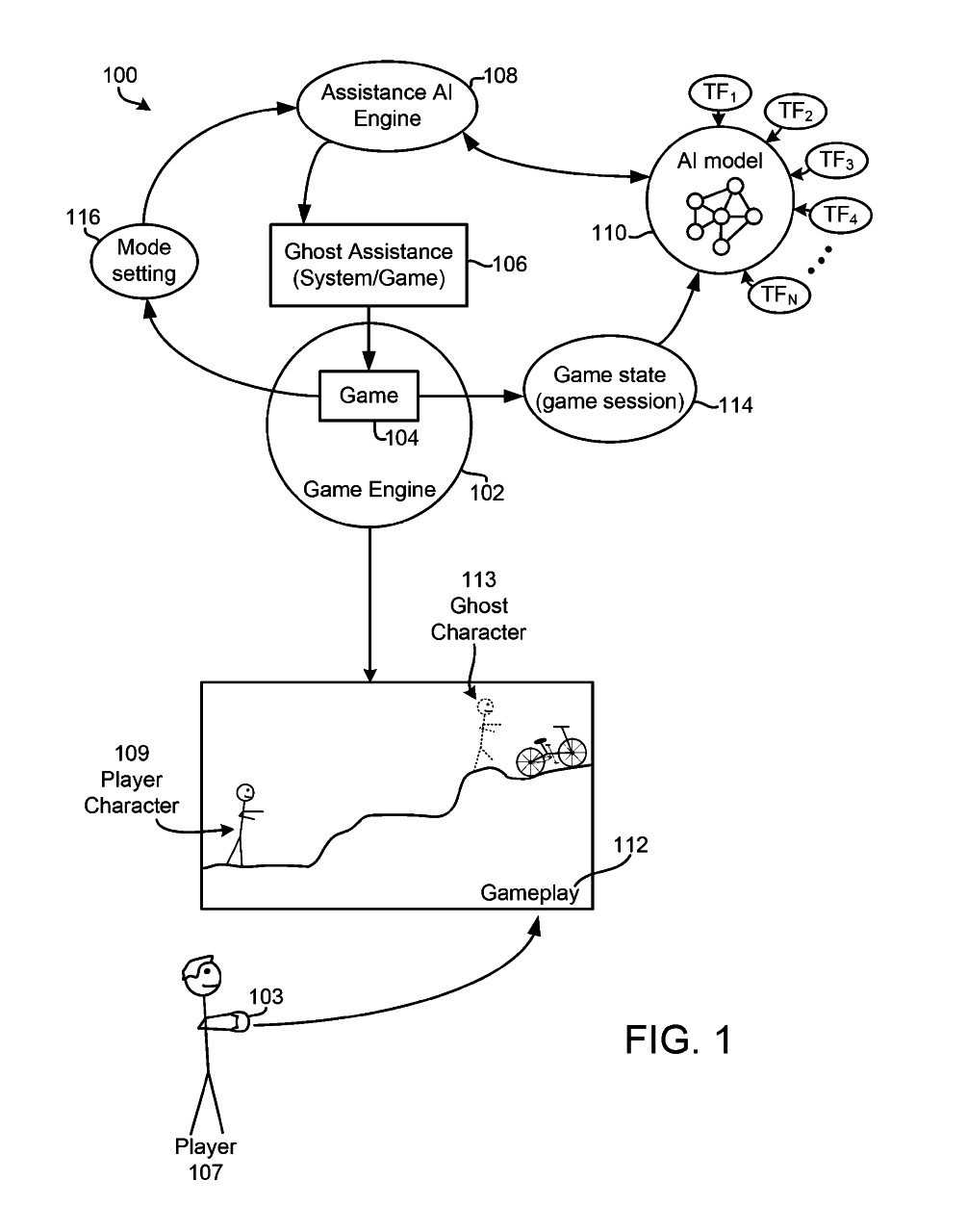
Iedereen kent het moment. Je speelt een game en komt vast te zitten, met geen mogelijkheid om verder te komen. Vaak komt de oplossing alsnog en ben je trots als je alsnog progressie boekt, maar Sony werkt aan een patent waarmee het ook anders kan.

In het patent benoemen ze een nieuwe technologie waarbij PlayStation games zichzelf spelen, met behulp van kunstmatige intelligentie. Een zogeheten 'Ghost Player' zal de game van je overnemen zodat je ziet wat de oplossing is, waarna je dit zelf kunt doen (de zogeheten "Guide Mode") of simpelweg verder gaat na dit stuk ("Complete Mode").

Het patent is niet nieuw en werd al in september 2024 ingediend, maar komt nu naar voren uit een internationaal statusrapport dat het World Intellectual Property Organization heeft gepubliceerd. Op de PlayStation 5 is er al een Game Help systeem, waarmee je via screenshots of video's eveneens begeleiding krijgt in secties waar je moeite mee hebt. Of ze dit ook daadwerkelijk gaan gebruiken is nog maar de vraag, bedrijven dienen continu patenten in om hun ideeën veilig te stellen.



16:31  Dragon Quest VII Reimagined geeft je een voorproefje met een demo
16:54  Resident Evil Requiem beelden lijken de stad Wrenwood te tonen
 Reacties (1)
 Pagina: 1
Gast (77.166.22.xxx) op 06-01-2026 om 23:17
Ik vind dit een hele slechte ontwikkeling, je moet uitgedaagd blijven en er is al youtube en zo om het op te zoeken wat mensen al erg veel doen helaas.

 Pagina: 1

 Reageer
Om te reageren op artikelen hoef je niet geregistreerd te zijn.
Om het forum te gebruiken is registreren echter wel verplicht.


Titel:
PlayStation 5
Type:
Hardware
Releasedatum:
19-11-2020
Ontwikkelaar:
Sony Interactive Entertainment
Uitgever:
Sony Interactive Entertainment
Media:








Meer media