Home   Forum   Archief   Redactie   Contact   Bedrijven   Games    
 
  GamedPCVRNintendo SwitchNintendo Switch 2Playstation 4Playstation 5Xbox OneXboxAppMisc    
20 December 2025 
(0) 
19 December 2025 
(5) 
(0) 
(0) 
17 December 2025 
(0) 
(0) 
(0) 
(0) 
(0) 
(0) 
(0) 
16 December 2025 
(2) 
(4) 
(0) 
(0) 
(0) 
(0) 
(0) 
(0) 
(0) 
(0) 
15 December 2025 
(2) 
(0) 
13 December 2025 
(0) 
(0) 
(0) 
(0) 
(0) 
12 December 2025 
(0) 
(0) 
(0) 
(0) 
(0) 
(0) 
(0) 
(1) 
(0) 
(0) 
(0) 
(0) 
(0) 
(0) 
(1) 
(0) 
(0) 
(0) 
(1) 
(0) 
(0) 
(2) 
(0) 
(0) 
(0) 
(0) 
(0) 
(0) 
(0) 
11 December 2025 
(0) 
(0) 
10 December 2025 
(0) 
(0) 
(0) 
(1) 
(0) 
(0) 
(1) 
(0) 
(0) 
(0) 
(1) 
09 December 2025 
(1) 
(0) 
(0) 
(0) 
(0) 
(0) 
08 December 2025 
(1) 
(3) 
(0) 
(0) 
(0) 
06 December 2025 
(0) 
(0) 
(0) 
(0) 
05 December 2025 
(0) 
(0) 
(0) 
(0) 
(1) 
(0) 
(0) 
(0) 
04 December 2025 
(3) 
(1) 
(0) 
(0) 
(1) 
(0) 
(0) 
(0) 
(0) 
(0) 
(0) 
(0) 
03 December 2025 
(0) 
(0) 
(0) 
02 December 2025 
(2) 
(0) 
(0) 
(0) 
(1) 
(0) 
(1) 
01 December 2025 
(0) 
(0) 
30 November 2025 
(0) 
29 November 2025 
(1) 
(0) 
27 November 2025 
(0) 
(0) 
(0) 
(0) 
(0) 
(0) 
(0) 
26 November 2025 
(0) 
(0) 
(0) 
(3) 
(0) 
(0) 
(0) 
(1) 
(0) 
25 November 2025 
(3) 
(0) 
(0) 
24 November 2025 
(6) 
(0) 
(0) 
23 November 2025 
(0) 
(1) 
21 November 2025 
(0) 
Romancing SaGa: Minstrel Song Remastered International
Call of Duty: Black Ops 7
Gamed Gamekalender December 2025
The Berlin Apartment
Nieuws:

Oude PlayStation-accessoires worden mogelijk compatibel met PlayStation 5


Door Rene Groen op 04-07-2022 om 16:07

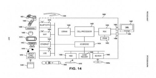
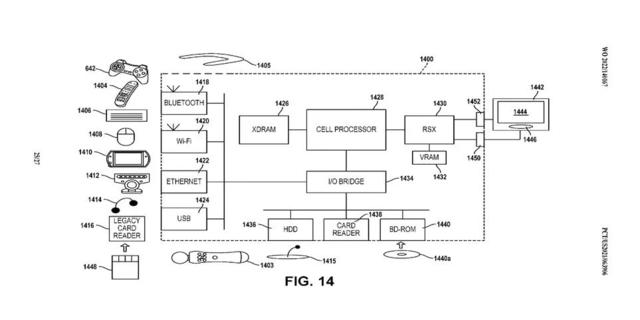
Het lijkt erop dat Sony bezig is om je oude PlayStation-accessoires in de toekomst werkzaam te krijgen op de Playstation 5. Dit is althans af te leiden uit een patent.

In een bijhorend plaatje zien we dat onder andere de oudere Dual-Shock controllers, een PlayStation Move-controller, een memory card, PlayStation-muis, EyeToy, Media Remote en PlayStation Portable Go aan de PlayStation 5 verbonden worden.



14:47  LOTR: Gollum, Steelrising en Test Drive Unlimited komen naar NACON Connect
16:01  EA Seattle werkt aan nieuwe Battlefield singleplayer
 Reacties (1)
 Pagina: 1
Gast (188.206.102.xxx) op 04-07-2022 om 17:30
Liever alle games van ps 1 2 3

 Pagina: 1

 Reageer
Om te reageren op artikelen hoef je niet geregistreerd te zijn.
Om het forum te gebruiken is registreren echter wel verplicht.


Titel:
PlayStation 5
Type:
Hardware
Releasedatum:
19-11-2020
Ontwikkelaar:
Sony Interactive Entertainment
Uitgever:
Sony Interactive Entertainment
Media:








Meer media